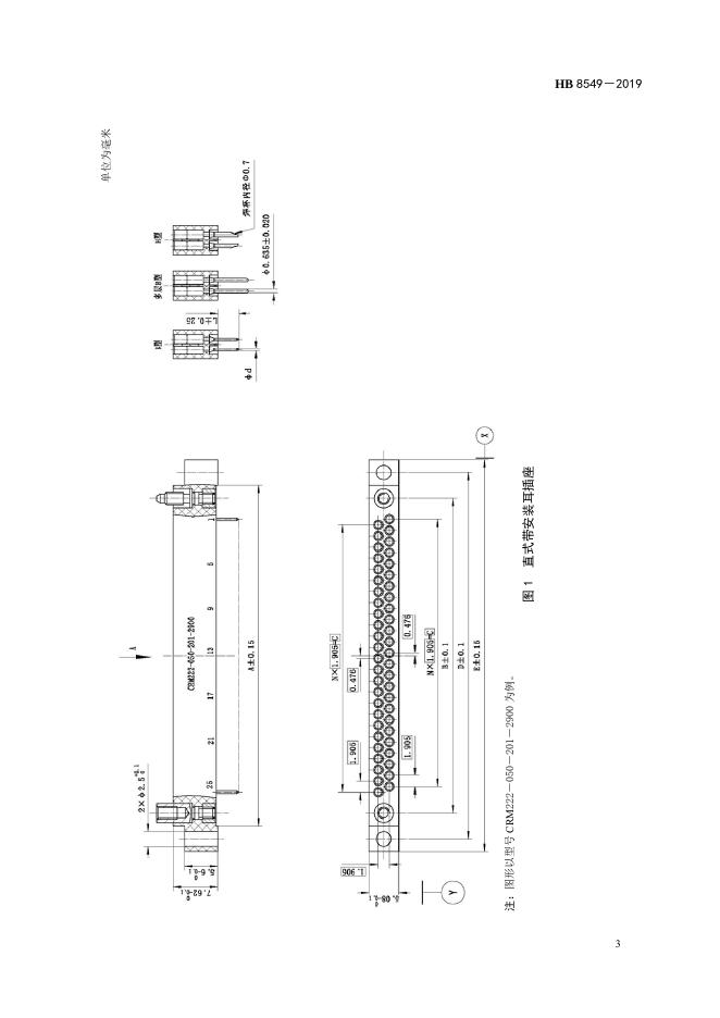
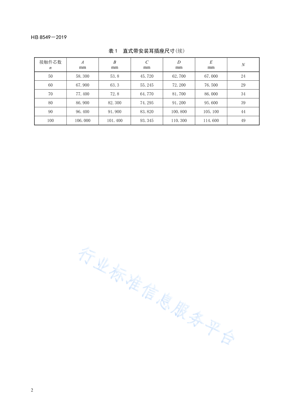
HB 8549-2019 航空用1.905MM间距二排矩形电连接器 插座

行业标准 强制性 现行

标准状态

  1. 发布于:
  2. 实施于:
  3. 废止

标准详情

  • 中国标准分类号:V00
    国际标准分类号:ICS 49.020
  • 提出单位:中国航空综合技术研究所
    主管部门:工业和信息化部

起草单位

中国航空综合技术研究所、中国航空工业第一飞机设计研究院、中航光电科技股份有限公司

起草人

王宗武、周珊、冯海云、段锐、杨婧君、刘明明、李伟力

标准预览(共 22 页)

* 特别声明:资源收集自网络或用户上传,版权归原作者所有,如侵犯您的权益,请联系我们处理。

  • 标准质量:
  • 文档详情:3.78MB 共 22 页 PDF

标准搜索