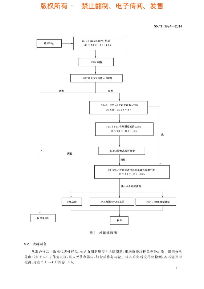
SN/T 3994-2014 动物产品中肠出血性大肠杆菌O104:H4检疫技术规范

行业标准 推荐性 现行

标准状态

  1. 发布于:
  2. 实施于:
  3. 废止

标准详情

  • 中国标准分类号:B41
    国际标准分类号:B41
  • 提出单位:
    主管部门:国家质量监督检验检疫总局

起草单位

深圳出入境检验检疫局、深圳市检验检疫科学研究院、天津出入境检验检疫局等

起草人

杨俊兴、陶虹、唐金明 等

标准预览(共 14 页)

* 特别声明:资源收集自网络或用户上传,版权归原作者所有,如侵犯您的权益,请联系我们处理。

  • 标准质量:
  • 文档详情:863.21KB 共 14 页 PDF

标准搜索